- 技术文章
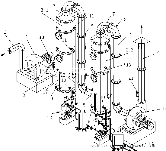
酸洗塔,碱洗塔,水洗塔串联使用
2023-05-11 15:28:10 来源:枣强县润和环保设备有限公司 酸洗塔,碱洗塔,水洗塔种类:填料塔、喷淋塔、板式塔、鼓泡塔、文丘里。
洗涤塔应用:
A)填料塔宜用于小直径塔及不易吸收的气体;不宜用于气液相中含有较多固体悬浮物的场合。
B)板式塔宜用于大直径塔及容易吸收的气体;
C)喷淋塔宜用于气量大、悬浮物少、反应吸收快气体;
D)鼓泡塔宜用于吸收反应较慢的气体。
酸洗塔,碱洗塔,水洗塔结构:
洗涤塔由圆形筒体整体缠绕而成、进风段、填料层、填料支架、雾化喷淋系统、气水分离系统、药液储存投加系统等单元组成。
1、塔体
1.塔体采用玻璃钢制作。
2.塔体外表面颜色有多种可供用户选择。
3.塔体可以按订货要求分段制作,在现场进行组装。
4.塔体可根据现场要求进行设计。
2、填料:多面球填料。
3、填料支架:支撑填料。
4、雾化喷淋系统:由耐腐蚀的喷嘴、PVC管道、循环水泵和循环水池等组成。
5、气水分离系统:由PVC网多层叠加组成。
6、药液储存投加系统:由配药箱和配套输送泵等组成。
7、其它配件如塑料管件阀门、固定支架、检修爬梯和进风管道等,用户可在订货时定制。
酸洗塔,碱洗塔,水洗塔串联使用参考图:
上一篇:喷淋塔+活性炭吸附装置+风机+排气筒下一篇:除臭生物滤池设备除臭工艺
-
产品搜索
扫一扫,手机浏览












